Berner Üreges mennyezeti horgony
Berner Üreges mennyezeti horgony
Nem sikerült betölteni az átvehetőségi adatokat
Miért válassz minket?
Miért válassz minket?
Minőség és megbízhatóság!
100%-ban magyar tulajdonú vállalkozás
100%-ban magyar tulajdonú vállalkozás
Családi vállalkozás vagyunk. Több generáción keresztül foglalkozunk építőiparral, így biztosítjuk a megbízható és szakértő szolgáltatást minden ügyfelünk számára.
Évtizedes megbízhatóság
Évtizedes megbízhatóság
Már több, mint 10 éve szolgáljuk ki elégedett ügyfeleinket. Válassz biztos és stabil partnert építőipari projektjeidhez.
Kiváló minőség, garantált tartósság
Kiváló minőség, garantált tartósság
Kizárólag prémium építőanyagokat forgalmazunk, hogy biztosítsuk ügyfeleink projektjeinek hosszú élettartamát és megbízhatóságát.
Gyors szállítás
Gyors szállítás
A raktáron lévő termékeinket Budapesten 1-4, vidéken 1-5 munkanapon belül kiszállítjuk.
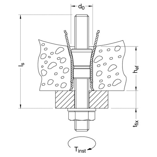
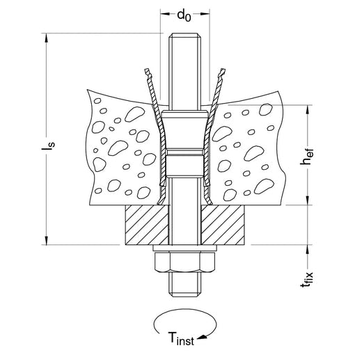
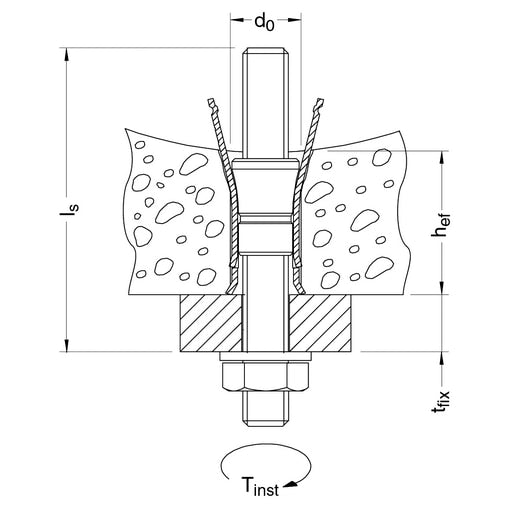
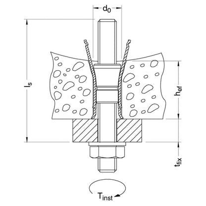
- Jóváhagyott speciális horgony előfeszített körüreges födémpallókban való rögzítéshez
- Az öntött perem biztosítja a horgony megfelelő beállítását
- Üreges és tömör építőanyagban egyaránt használható
- Dübel típus: fém horgony
- Anyag: horganyzott acél
- ETA jóváhagyás: Német jóváhagyás: beton
- Fire Resistance Rating, Maximum: None
Alkalmazási területek:
Pl. csövek, kábelcsatornák, szellőzőcsövek, tűzoltó rendszerek vagy álmennyezetek B55 vagy C45/55 betonból készült, előfeszített körüreges födémpallókba való jóváhagyott rögzítéséhez
Termék előnyei:
-
Jóváhagyott speciális horgony
- Műszaki engedély C45/55 betonból készült előfeszített körüreges födémpallók rögzítéséhez
-
Praktikus és sokoldalú
- Üreges és tömör építőanyagban egyaránt használható
- Az öntött perem megakadályozza, hogy mélyebbre csússzon a furatba
- Minden metrikus menetes csavarhoz vagy csaphoz használható
-
Egyszerű beszerelés
- Néhány kalapácsütéssel, célszerszámok nélkül beállítható
Tulajdonságok
- Galvánhorganyzott (ZI) acél kivitel
Tanácsok
A műszaki adatokért kérjen jóváhagyást
Technikai adatok
Tulajdonság | Érték |
Anyag | horganyzott acél |
Megosztom






További termékek
Iratkozz fel hírlevelünkre!
Hetente új akciókkal várunk!